Сверла алмазные концевые
Сверла алмазные концевые
Сверла алмазные концевые предназначены для сверления отверстий в сверхтвердых углерод-углеродных, углерод-карбидокремниевых и других неметаллических композиционных материалах.
Технические характеристики:
- Материал корпуса – столь 40Х
- Твердость – в отожжённом состоянии
- Алмазное покрытие АС32 на адгезионно-вакуумной связке АВС
- Возможно изготовление гальванической связке G (повышенной точности)
- Точность изготовления по алмазному слою – js14
- Размер зерна D426 (400-350) в соответствии с ГОСТ Р 53922-2010
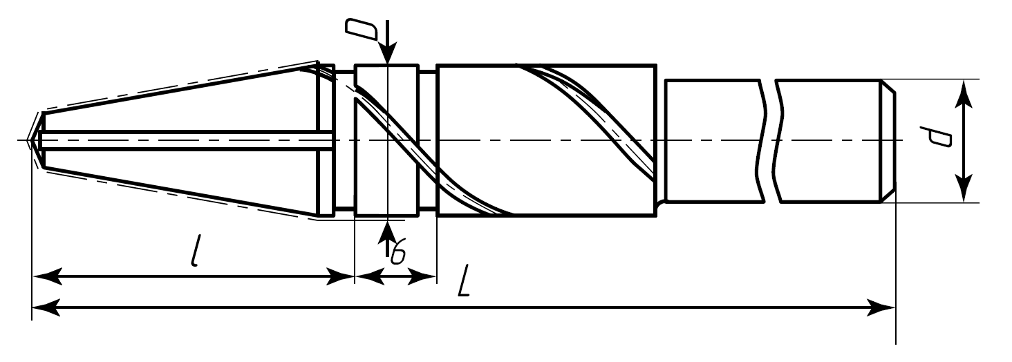
Список стандартных типоразмеров, выпускаемых нашим предприятием
|
D, мм |
l, мм |
d, мм |
L, мм |
| 4 | 15 |
2,94 |
60 |
| 4,5 | 16 |
3,44 |
60 |
| 5 | 16 |
3,94 |
60 |
| 5,5 | 16 |
4,44 |
60 |
| 6 | 18 |
4,94 |
70 |
| 6,5 | 20 |
5,44 |
70 |
| 7 | 21 |
5,94 |
70 |
| 7,5 | 20 |
6,44 |
80 |
| 8 | 21 | 6,94 | 80 |
| 8,5 | 21 | 7 | 80 |
| 9 | 22 | 7 | 90 |
| 9,5 | 21 | 7 | 90 |
| 10 | 22 | 7 | 90 |
| 10,5 | 24 | 9 | 90 |
| 11 | 25 | 9 | 100 |
| 11,5 | 26 | 9 | 100 |
| 12 | 27 | 9 | 100 |
| 12,5 | 26 | 9 | 100 |
| 13 | 27 | 9 | 100 |
| 13,5 | 29 | 9 | 100 |
| 14 | 31 | 9 | 110 |
| 14,5 | 32 | 9 | 110 |
| 15 | 31 | 9 | 110 |
| 15,5 | 32 | 9 | 110 |
| 16 | 33 | 9 | 120 |
| 16,5 | 35 | 9 | 120 |
| 17 | 34 | 9 | 120 |
| 17,5 | 35 | 9 | 120 |
| 18 | 36 | 9 | 120 |
| 18,5 | 37 | 9 | 120 |
| 19 | 37 | 9 | 120 |
| 19,5 | 38 | 9 | 120 |
| 20 | 39 | 9 | 120 |
| 20,5 | 41 | 9 | 120 |
| 21 | 42 | 9 | 120 |


Скачать каталог продукции алмазного инструмента